신이피엔씨, 분할플랜지형 비용접관 이음매 인증 취득
한국주철관공업, 덕타일 주철관 및 이형관 인증
코팅강관 제조업체인 신이피엔씨(사장 김태진), 한국주철관공업(대표 홍동국, 김태형, 김형규)이 최근 신제품 NEP인증(New Excellent Product)을 취득했다.
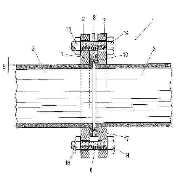
우선 신이피엔씨는 지난해 개발한 분할플랜지형 비용접관 이음매(외경 600A)에 대한 NEP인증을 취득했다. 이 제품은 내구수명과 시공성, 개보수작업성을 향상시킨 상수도, 농공업용수 및 소방용수용 호칭지름 600mm 이하 강관을 비용접으로 연결하는 제품이다.
한국주철관공업은 에폭시분체 고분자 소재를 용융 코팅한 덕타일 주철관과 이형관 두 제품에 대해 NEP인증을 취득했다. 이 회사는 BPF(Bisphenol F)형 에폭시 분체도료를 덕타일 주철관 및 이형관에 적용했다. 또한, 주철관 제조용 분말과 도장용 분체도료 도장기술이 활용됐으며 Robo cylinder를 이용해 내면 도장기술을 핵심으로 상수관 및 하수관용 제품을 만들어냈다는 사항이 인정받았다.
한편 NEP인증은 국내 기업이나 연구 기관, 대학이 개발한 신기술 또는 이에 준하는 기술을 적용해 생산된 제품에 대하여 기술성, 사업성, 성능 및 품질의 우수성을 정부가 인정해 주는 제도다.
신제품 인증(NEP)은 신기술 부문의 신기술 인증(NET: new excellent technology)과 함께 국내의 신기술과 신제품을 인증해 줌으로써 관련 부처의 지원 제도 이용과 인증 제품의 판로 확대 등을 종합적으로 지원하는 것이 목적이다.

